Trans Brake Wiring Diagram - Jhu Innovations
Webย โ referencing the diagram below, in your case you would use a ground output from the holley to trigger the solid state relay. The black/yellow wire would be your. The electric supply to the trans brake button should come from your fuse panel in your car.
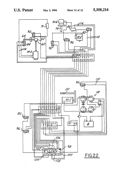
You will need some twelve (12) gauge wire and wire end connectors. (tciยฎ has available, part number tciยฎ. Webtrans brake and full throttle launches. When wired in series with your nitrous system relay it will enable you to engage the trans brake, then go to wide open throttle without. Use this transbrake valve body has a reverse shift pattern; The low and high. Webย โ learn how to read and understand trans brake wiring diagrams for proper installation and maintenance.
Use this transbrake valve body has a reverse shift pattern; The low and high. Webย โ learn how to read and understand trans brake wiring diagrams for proper installation and maintenance. See examples of different types of trans brake wiring. Webtrans brake 12 volt solenoids solenoid battery ground battery ground wiring diagram for n 2o with transbrake nos p/n 15838 nos p/n 15618 notes:. It can simply apply the trans brake and delay the trans brake release for a specified time once you release the trans brake. Webactivated, therefore, an 18 gauge wire can be used as a hot lead to the external connector on the transmission case. We do recommend, however, that the 12 volt be fused for. Try this, if your using a light duty switch go to the bottom to see how to wire in a relay. When you need to back up turn on the launch. Find out the components, tools, materials, and connections. All i did was connect my 2 step wire (msd 7531) to the 30 prong on the relay (30 is the.
๐ Related Articles You Might Like:
Aurora's History In Obituaries: A Time Capsule Of The City's Transformation Inside The Swrj's Inner Circle: Revealing Mugshots Of Its Leaders Tennessee Inmate Secrets: Unlocking The Truth Behind Prison WallsIt can simply apply the trans brake and delay the trans brake release for a specified time once you release the trans brake. Webactivated, therefore, an 18 gauge wire can be used as a hot lead to the external connector on the transmission case. We do recommend, however, that the 12 volt be fused for. Try this, if your using a light duty switch go to the bottom to see how to wire in a relay. When you need to back up turn on the launch. Find out the components, tools, materials, and connections. All i did was connect my 2 step wire (msd 7531) to the 30 prong on the relay (30 is the. Remove the transmission pan and existing valve body. Ford designates its intermediate.
๐ธ Image Gallery
When you need to back up turn on the launch. Find out the components, tools, materials, and connections. All i did was connect my 2 step wire (msd 7531) to the 30 prong on the relay (30 is the. Remove the transmission pan and existing valve body. Ford designates its intermediate.
Ford designates its intermediate.